rund
flach
Edelstahl
Ø 25 mm
Paneel-Montage
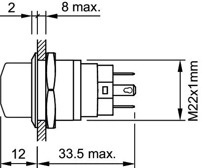
Ø 22 mm
flach
Silber
Edelstahl
ausleuchtbar
Punkt
Weiss
1 U
240 V
V DC
24 V
Steckanschluss
2 Stellungen
Sprungschaltelement
Silber
Ruhe - Rast
90° rechts
IP65
Single-LED
gemäss IEC 60947-5-1 (Silberkontakte) | |
Gebrauchskategorie AC-15 | |
Spannung | Strom |
24 VAC | 1 A |
35 VAC | 1 A (M12 Version) |
110 VAC | 1 A |
220 VAC | 0,5 A |
Gebrauchskategorie DC-13 (Silberkontakte) | |
Spannung | Strom |
24 VDC | 0,7 A |
35 VDC | 0,5 A (M12 Version) |
110 VDC | 0,2 A |
220 VDC | 0,1 A |
gemäss UL 508 (Silberkontakte) | |
cosφ 0,75 … 0,8 | |
Spannung | Strom |
120 VAC | 5 A |
240 VAC | 3 A |
24 VAC | 1 A |




