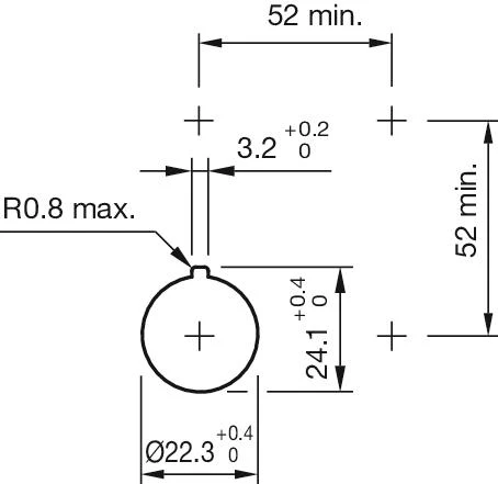
圆形
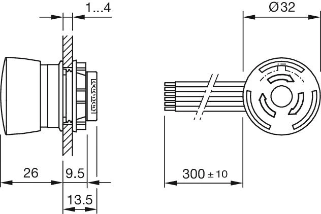
Ø 32 mm
面板安装
Ø 22 mm
圆
蘑菇头
红色
塑料,符合 UL 94 V0
发光
绿色
红色
1 NC / 1 NO
250 V AC @ 1,5 A
V DC (LED)
5 - 30 V
旋转解锁
扁平带状电缆 300 mm
慢动开关元件
金
自锁
符合IEC 62262的IK07标准
IP65, IP66, IP67,符合DIN EN 60529标准
塑料, 符合 UL 94 V0
开关交流额定值 带银触点 (镀金) | ||
负载类型 AC-15, 根据 EN IEC 60947-5-1 | ||
电压 | 120 VAC | 240 VAC |
电流 | 3 A | 1,5 A |
开关直流额定值 带银触点 (镀金) | ||
负载类型 DC-13 根据 EN IEC 60947-5-1 | ||
NO 触点 | NC 触点 | NO/NC 触点 |
(48 VA) | (60 VA) | |
12 VDC/2.0 A | 12 VDC/2.5 A | 125 VDC/0.22 A |
24 VDC/2.0 A | 24 VDC/2.5 A | 250 VDC/0.11 A |
48 VDC/1.0 A | 48 VDC/1.25 A | |
60 VDC/0.8 A | 60 VDC/1.0 A |
银触点(镀金) | ||
电压 | 1 VAC/DC | |
电流 | 1 mA |



